日前,有媒體報道稱,和府餐飲旗下廣州首家“小面小酒”正式亮相領展購物廣場。和府方面表示,10月內還將有10家“小面小酒”陸續在全國多層級城市落地。預計2021年底,“小面小酒”將在全國布局門店50家。
據速途網了解,“小面小酒”是餐飲品牌和府撈面的子品牌,定位“一個人的小面一群人的小酒”,主要經營包括主食、江湖菜、小吃、飲品四大品類。今年4月,小面小酒首店在上海營業,營業首日營收突破4萬元。隨后,小面小酒的第二、三家店相繼落戶天津上海,并自開業以來,保持著平均每月即更新一次菜單并推出新品。

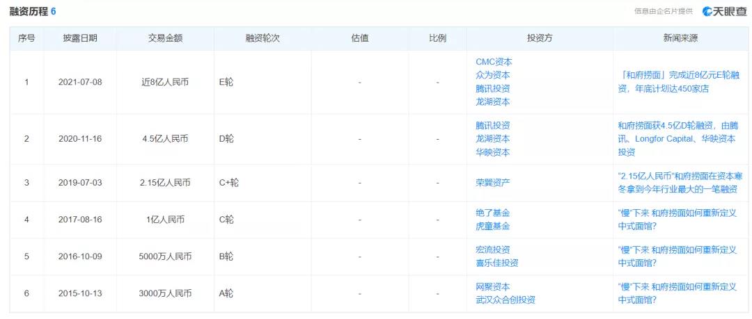
從“書房面”到“小面小酒”,和府撈面這幾年在融資將近17億后拿出了新的業績增長點,也讓行業看到和府撈面不再僅僅依靠“書房面”向資本講故事。
“書房面”撐不起80億人民幣估值,和府亟待創新業態
近幾年,餐飲行業不斷涌現出新品牌,在各細分市場站穩腳跟的同時,也不斷收獲資本的青睞,和府撈面便是其中之一。
今年7月,和府撈面宣布完成由CMC資本領投,新股東眾為資本、老股東騰訊投資、LongforCapital跟投的近8億元E輪融資。和府撈面表示,該輪融資主要用于深入布局全產業鏈體系、新品牌打造、渠道建設及數字化能力構建等方面。此前,和府撈面已累計獲得了約8.5億元融資。
但速途網注意到,與近幾年頻獲融資相對應的是,和府撈面在產品創新上卻略顯乏力,近幾年除了店面擴張之外,并無新業態的推出,這與目前餐飲行業主流玩家推出多品牌的路數有些相悖。
要知道,海底撈、呷哺呷哺、西貝等老牌餐飲近幾年不斷孵化新品牌,試圖通過新的業態吸引不同年齡階層的消費者,一方面,新品牌可以借助老品牌沉淀多年的影響力迅速打開市場,另一方面,一定程度的創新也能讓行業看到餐飲行業仍然具備想象力。就連相對低調的巴奴毛肚火鍋也在去年推出了超島火鍋串串。
就和府撈面來說,門店數量上的擴張有利于品牌資產的升值,而其“不加盟”的模式,也保證了產品質量的管控。
但是,近兩年來,面食已經成為投資機構眼中的明星賽道。蘭州拉面品牌張拉拉、馬記永相繼完成了融資,遇見小面在融資后估值也達到了10億元。值得注意的是,陸正耀在瑞幸咖啡之后推出的“趣小面”也是這一賽道,有消息人士稱,目前僅僅開了20多家店的“趣小面”估值已經達到10億元。

因此,在面食行業備受關注的當下,和府撈面亟需新品牌來提高其想象力“天花板”,撐起其80億估值。據速途網了解,此前和府撈面曾推出以面飯、小食為主的“財神小排檔”,財神面、和府到家以及和府快捷店等,但目前尚未披露最新進展。
而本次和府撈面押寶的小面小酒也是其新品牌之一,也是從定位來看最可能成功的一個,這也讓和府撈面敢于喊出年底門店數量達到50家的口號。
餐飲行業無酒不歡,海倫司上市給行業啟發
如果說,“小面小酒”是和府撈面新品牌中最可能成功的一個,那么還是要得益于其選擇了“賣酒”的生意。
事實上,在過去很長一段時間內,“酒館”生意都始終處于“有品類、無品牌”的尷尬境地內。畢竟,酒館行業集中度低,又缺乏高知名度、高市占率成熟品牌。
然而,近年來,隨著新消費風口的興起,“酒館”生意受到的重視程度愈發加大,不少餐飲企業紛紛入局,主動示好“酒”的同時,開啟了“餐+酒”的新興運營模式。
2019年4月,星巴克中國首家臻選·咖啡·酒坊BarMixato在上海正式落戶;2020年,老鄉雞餐飲品牌老鄉雞在深圳開出旗下的首家酒吧;今年6月,海底撈正式上線了旗下的HI撈小酒館,開始嘗試新的“火鍋+酒”的新業態。此外,喜家德、鼎泰豐等也都紛紛跨界做起了“賣酒”的生意。
在速途網看來,大量餐飲企業選擇扎堆入局酒館生意,不僅僅是基于迎合年輕人消費需求的基礎,更是為打造高度黏性社交空間,留住年輕顧客群體的全新探索。換言之,“酒館”生意實際上是對夜宵經濟的探索。
根據CBNData消費大數據發布的《2020年輕人群酒水消費洞察報告》顯示,年輕化是酒水市場的重要發展方向。從消費人數和人均消費水平來看,90后、95后消費者皆呈現增長趨勢,年輕消費者逐漸成為市場消費的主力軍。
另一方面,“小酒館”海倫司的上市也給了行業很大啟發。
據《2021中國小酒館行業發展研究報告》顯示,在疫情影響下,2020年中國酒館市場規模達743.4億元,2021年市場快速反彈,報告顯示預計增長達28.1%,到2025年該市場規模或將達到1372.8億元。根據弗若斯特沙利文報告,預計2020-2025年酒館行業復合增速為18.8%。
而海倫司這樣的小酒館的目標消費群體主要是20-30歲的青年人,提供具有性價比的酒水和小吃產品組合,以酒飲+社交娛樂的方式打造出輕量化夜間娛樂場所,因此受到年輕人的歡迎,得以快速下沉到二三線城市。
據海倫司的招股書顯示,2021年第一季度海倫司的收入為3.686億元,而2020年同期僅為6204萬元,同比增長494.5%。
但相較于其他行業,酒館行業相對分散,目前幾大頭部連鎖酒館市占率僅為2.2%,體量最大的海倫司市占率也僅為1.1%,其他知名連鎖酒館如胡桃里音樂酒館門店已超過400家,貳麻酒館門店數已有近200家,Perrys酒吧門店數超過50家。
可見,即使“小酒館”賽道仍有著較大的發展空間,但同質化及激烈地競爭,也依然使餐飲企業的突圍困難重重。
現今,大部分餐飲企業的“餐+酒”模式都還處于試水階段,如何避免同質化,并與品牌原本的業態相契合,不斷推陳出新,才是確保“餐+酒”模式長久發展的重中之重。